引力云ERP系统操作手册
文档阅读指南
了解ERP系统
人事管理
人事管理
日志报表
用户管理
合同管理
工资补贴
岗位职责
工资管理
工资项配置
工资方案
调薪管理
工资发放
我的工资
计时计件单价
办公管理
办公管理
用车管理
借款单
请假管理
工作汇报
费用报销
公告管理
领用归还
考勤管理
工程管理
工程管理
物料申请
作业指示单
产品档案
产品管理
产品分类
产品参数
价格版本
BOM管理
BOM类别
标准BOM
订单BOM
BOM批量更新
BOM反查
价格核算
物料报价
基础资料
类别核价参数
价格核算明细
核价参数变更
手动核价明细
报价试算
工序管理
工序管理
工序类别
工程变更
产品工艺
销售管理
客户关系
客户档案
联系人列表
客户开发
月结审核
开票审核
档案变更
客户查重
售前管理
客户询价
客户报价
销售合同
客户料号
样品管理
样品订单
样品出库
样品退货
订单管理
销售订单
订单跟进
销售出库
销售退货
料号申请
设置
基础资料
生产管理
生产管理
订单处理中心
生产执行
生产任务
生产成本核算
物料管理
生产报表
工厂建模
工厂日历
MES生产
委外加工
委外加工
委外报价
委外物料
委外需求
委外订单
委外跟进
委外来料
物料出库
委外入库
物料退货
委外退货
扣款单
品质管理
品质管理
质量评审
8D报告
来料IQC
采购来料质检
委外来料质检
质检待入库
质检待退货
采购质检退货
委外质检退货
制程IPQC
入库质检
首件质检
质检待入库
出库检OQC
质检任务
客诉管理
客诉汇总
质检任务
基础资料
基础资料
评审配置
质检项类别
质检项
质检方案
质检标准
报表管理
客诉报表
采购管理
供应商管理
供应商档案
供应商料号
供应商报价
档案变更
基础资料
订单管理
采购需求
采购来料
采购入库
采购退货
采购订单
订单跟进
样品管理
样品订单
样品入库
估价管理
估价管理
系列管理
核心参数
价格管理
仓库管理
仓库管理
备料申请
成本调整单
基础资料
产品溯源
报废处理
报废管理
批次查询
库存预留
产品拆卸
库存盘点
储位管理
产品组装
库存余额
库存调拨
库存操作明细
其他出库
其他入库
库存查询
仓库管理
业务结账
业务期末结账
业务结账设置
出货计划
销售分拣计划
生产领料计划
财务管理
财务管理
日记账
账套交易
运费管理
资金调拨
对账管理
账期管理
销售对账
采购对账
委外待对账
委外对账单
收付款管理
付款申请
收款管理
付款管理
委外付款
预收款管理
预付款管理
发票管理
发票申请
已开发票
已收发票
固定资产
资产管理
资产折旧
资产类别
其他业务
业务费用管理
业务工资
基础资料
会计总账
会计总账
账簿管理
报表
基础资料
模具管理
模具管理
供应商模具
客户模具
经营报表
经营报表
系统管理
系统管理
系统配置
日志管理
主页
控制台
设备管理
设备管理
设备类别
设备管理
设备状态变更
设备状态统计
设备巡检
巡检模版
巡检点管理
巡检计划
巡检工单
设备保养
保养工单
维保套餐
保养类型
保养计划
设备维修
维修记录
故障分类
安灯管理
安灯设备管理
安灯设备配置
安灯配置
安灯到设备
安灯列表
安灯报表
安灯分析
安灯日报
本站点使用 MrDoc 构建
-
+
领用归还
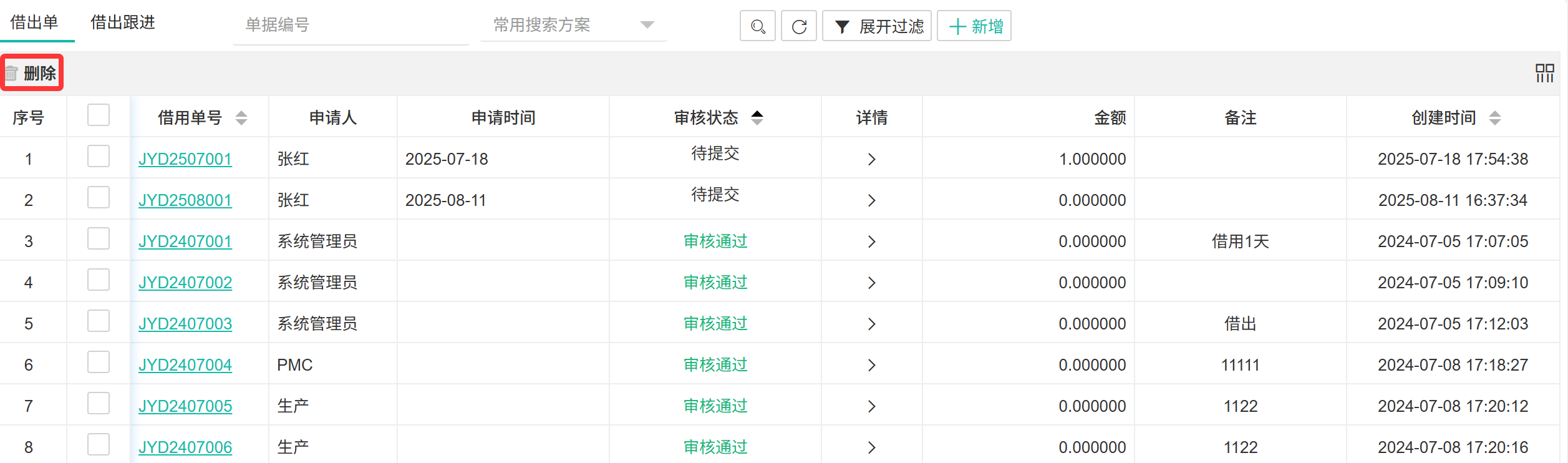
领用归还,包含:借出单、归还单、借出跟进等。 ## ● 借出单 【借出单】人员借出办公用品等非生产使用的物品时,填写借出单  ### ● 新增借出单 操作步骤: 1. 进入【办公管理】>【领用归还】>【借出单】>【借出单】。 2. 在上方搜索栏一行【+新增】按钮处单击,弹出新增审批单窗口。 3. 填写信息后单击【保存】或【提交】按钮。  >审批单字段说明 >| 字段 | 说明 | | --- | --- | |借用单号 |唯一标识每笔借用记录的编号,便于查询和管理。 | |申请人 |提出借用需求的人员姓名。 | |申请时间 |提交借用申请的日期和时间。 | |审核状态 |当前申请的审批进度。 | |详情 |借用的详细信息。 | |金额 |借用的金额数值 | |备注 |其他需要补充的说明或特殊要求。 | |创建时间 |该条记录在系统中生成的时间 | ### ● 删除审批单 操作步骤: 1. 进入【办公管理】>【领用归还】>【借出单】>【借出单】。 2. 勾选未审核的审批单,单击工具条上的【删除】按钮。  >d **附注** >1:只有未审核的审批单可以删除,已经审核的审批单无法删除。 >2:一次只能选择一条审批单删除。 ## ● 借出跟进 ### ● 借出归还 操作步骤: 1. 进入【办公管理】>【领用归还】>【借出单】>【借出跟进】。 2. 勾选借出单据,单击【归还】或者【批量归还】按钮弹出借用归还窗口。 3. 填写信息后单击【提交】按钮。  ## ●归还单 【归还单】员工归还借出单借出的物品时,填写归还单 ### ●新增归还单 操作步骤: 1. 进入【办公管理】>【领用归还】>【归还单】。 2. 在上方搜索栏一行【+新增】按钮处单击,打开新增归还单窗口。 3. 填写信息后单击【提交】按钮。  >d **附注** > 1:单号由系统自动生成。 ## ● 借出明细 【借出明细】查看借出归还的情况,是否按时归还以及剩余归还时间,可对明细数据进行导出。  ## ● 归还明细 【归还明细】统计所有借出后归还的记录,可对明细数据导出。
root
2026年2月28日 17:25
转发文档
收藏文档
上一篇
下一篇
手机扫码
复制链接
手机扫一扫转发分享
复制链接
Markdown文件
PDF文档(打印)
分享
链接
类型
密码
更新密码